Tuotteet
Pitkävartinen paluuventtiili
  • Pitkävartinen paluuventtiiliPitkävartinen paluuventtiili

Pitkävartinen paluuventtiili

GenTant on johtava pitkävartisten paluuventtiilien valmistaja ja toimittaja Kiinassa, joka on keskittynyt edistyneen tuoteteknologian kehittämiseen. Tehtaallamme on kattavat sisäiset valmiudet sekä tuotesuunnitteluun että tiukkaan testaukseen. Tämän integroidun asiantuntemuksen ansiosta voimme paitsi valmistaa vakioventtiilejä myös täyttää täysin asiakkaan räätälöidyt vaatimukset. Alkukonseptista ja CAD-ohjelmistoa käyttävästä suunnittelusta suorituskyvyn validointiin hydraulisten ja kestävyystestien kautta voimme räätälöidä tekniset tiedot – kuten koon, paineluokituksen tai liitäntätyypin – tarkan projektisi tarpeiden mukaan varmistaen tarkan ja luotettavan ratkaisun erikoissovelluksiin.

Long Shank Return Valve on erikoistunut takaiskuventtiiliversio, joka on suunniteltu estämään nesteen takaisinvirtaus vesikiertoisissa lämmitys- tai jäähdytyspiireissä, kuten lattialämmitysjärjestelmissä tai patterisilmukoissa. Sen ensisijainen tehtävä on varmistaa yksisuuntainen virtaus, jolloin lämmitetty tai jäähdytetty vesi pääsee kiertämään aiottuun suuntaan samalla kun se sulkeutuu automaattisesti estääkseen vastavirtauksen, joka voi häiritä järjestelmän tasapainoa ja tehokkuutta. Määrittelevä "pitkä varsi" sisältää pidennetyn venttiilirungon, joka mahdollistaa asennuksen suoraan jakotukin porttiin tai syvälle asetettuun liitäntäkohtaan. Tämä tarjoaa turvallisen, integroidun istuvuuden ja helpottaa huoltoa, mikä tekee siitä välttämättömän hydraulisen erotuksen ja tasaisen lämpösuorituskyvyn ylläpitämisen nykyaikaisissa LVI-järjestelmissä.


Tuotteen ominaisuus ja sovellus

Pitkävarreisissa paluuventtiileissä on pitkänomainen runko, joka on suunniteltu helpottamaan nesteiden paluuvirtausta upotetuissa tai eristettyissä järjestelmissä. Niiden ensisijainen ominaisuus on laajennettu ulottuvuus, joka mahdollistaa turvallisen asennuksen paksujen väliseinien kautta pitäen samalla säätöportin käytettävissä. Niitä käytetään laajalti lattialämmitysjakotukissa ja aurinkolämpöpiireissä, joissa ne säätelevät veden paluuta lämmönlähteeseen varmistaen tasapainoisen paineen ja optimaalisen lämpötehokkuuden koko piirissä.


Tuoteparametri

Tekniset tiedot

Nimellispaine: 1,6 MPa

Käyttöaine: Vesi

Käyttölämpötila: -10°C ≤ T ≤ 100°C

Lanka on ISO 228 -standardin mukainen


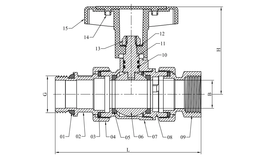
Naaras-nainen lanka

 Long Shank Return Valve

Ei.

Komponentin nimi

Määrä

Materiaali

01

PPR pää

2

PP-R

02

Kahdeksankulmainen lippalakki

2

HPb59-1

03

Tiiviste

2

VMQ

04

Venttiilin istukka

2

PTFE

05

Venttiilin runko

1

HPb59-1

06

Palloventtiili

1

S.S201

07

Venttiilikorkki

1

HPb59-1

08

O-rengas

2

EPDM

09

Venttiilin varsi

1

HPb59-1

10

Tasainen aluslevy

1

Q235

11

Mutteri

1

Q235

12

Kahvan kansi

1

ABS

13

Kahva

1

ABS


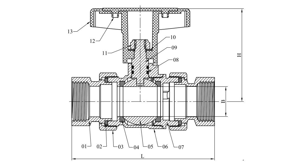
Mies-nainen lanka

Long Shank Return Valve

Ei.

Komponentin nimi

Määrä

Materiaali

01

Tiiviste

2

EPDM

02

Liitin

1

HPb59-1

03

Tasainen aluslevy

2

EPDM

04

Kahdeksankulmainen lippalakki

2

HPb59-1

05

Venttiilin istukka

2

PTFE

06

Palloventtiili

1

S.S201

07

Venttiilin runko

1

HPb59-1

08

Venttiilikorkki

1

HPb59-1

09

Yhteinen

1

HPb59-1

10

O-rengas

2

EPDM

11

Venttiilin varsi

1

HPb59-1

12

Tasainen aluslevy

1

Q235

13

Mutteri

1

Q235

14

Kahvan kansi

1

ABS

15

Kahva

1

ABS


Asennusohjeet

1.Puhdista ja valmistele putkisto huolellisesti ennen venttiilin asentamista.

2. Ennen asennusta poista kaikki suojapäädyt ja tarkasta venttiiliportit ja istukkapinnat varmistaaksesi, että ne ovat puhtaat.

3. Tarjoa venttiilille riittävä tuki välttääksesi liitosputkien aiheuttaman jännityksen.

4.Varmista, että venttiilin paine- ja lämpötilaarvot sopivat tarkoitettuihin käyttöolosuhteisiin.

5. Ennen kuin otat venttiilin käyttöön, kierrä se kokonaan avoimesta kiinni varmistaaksesi moitteettoman toiminnan.

6. Tarkista asennuksen jälkeen, että tiivistemutteri on kunnolla kiristetty.


Käyttöohjeet

Pitkävartiset paluuventtiilit ovat käsikäyttöisiä. Käännä kahvaa vastapäivään avataksesi ja myötäpäivään sulkeaksesi.


Tarkastus ja huolto

1. Rutiinitarkastuksia ja ennaltaehkäisevää huoltoa ei yleensä vaadita, lukuun ottamatta karan tiivisteen satunnaista säätöä ja venttiilin säännöllistä kiertoa avoimesta kiinni.

2.Jos tiiviste vuotaa, kiristä tiivistemutteria myötäpäivään noin neljänneskierros – tai kunnes vuoto lakkaa – lisätäksesi varren tiivisteen tiivistyspainetta. Älä koskaan pakkaa venttiiliä uudelleen, kun se on järjestelmäpaineen alaisena.

3. Kun vaihdat venttiilin karaa, vaihda myös tiivistemateriaali.



Hot Tags: Kiinan pitkän varren paluuventtiilin valmistaja, toimittaja
Lähetä kysely
Yhteystiedot
Jos sinulla on kysyttävää tarjouksesta tai yhteistyöstä, lähetä meille sähköpostia osoitteeseen zchen@gentantvalves.com tai käytä seuraavaa kyselylomaketta. Myyntiedustajamme ottaa sinuun yhteyttä 24 tunnin sisällä. Kiitos mielenkiinnostasi tuotteitamme kohtaan.
X
Käytämme evästeitä tarjotaksemme sinulle paremman selauskokemuksen, analysoidaksemme sivuston liikennettä ja mukauttaaksemme sisältöä. Käyttämällä tätä sivustoa hyväksyt evästeiden käytön. Tietosuojakäytäntö
Hylätä Hyväksyä