Tuotteet
Keskitehoinen lukittava luistiventtiili
  • Keskitehoinen lukittava luistiventtiiliKeskitehoinen lukittava luistiventtiili

Keskitehoinen lukittava luistiventtiili

Osta räätälöityjä keskitehoisia lukittavia luistiventtiilejä GenTantilta, ammattimaiselta valmistajalta ja toimittajalta Kiinasta. Venttiilimme on suunniteltu erityisesti ja niitä käytetään laajasti useissa olennaisissa järjestelmissä. Ne asennetaan yleisesti LVI-järjestelmiin (Heating, Ventilation and Air Conditioning) vyöhykkeen ohjaus- ja huoltoeristykseen sekä vesi-, vesi- ja palontorjuntajärjestelmiin. Nämä sovellukset ovat tärkeitä sekä asuinrakennuksissa että liikerakennuksissa, joissa luotettava sulkeminen ja turvallisuus ovat ensiarvoisen tärkeitä käyttöturvallisuuden ja tehokkaan kiinteistönhallinnan kannalta. Tarjoamme räätälöityjä ratkaisuja näiden erilaisten ympäristöjen erityisvaatimuksiin.

Keskitehoinen lukittava luistiventtiili on kestävä virtauksensäätölaite, joka on suunniteltu luotettavaan on/off-huoltoon paineistetuissa putkistojärjestelmissä. Sen ensisijainen tehtävä on eristää täydellinen nestevirtaus – joko vesi, öljy tai kaasu – nostamalla tai laskemalla kiinteää porttia virtausreitin poikki. Määrittelevä ominaisuus on integroitu lukitusmekanismi, usein riippulukko tai lukittava kahvakotelo, joka kiinnittää venttiilin joko auki tai kiinni. Tämä estää luvattoman tai tahattoman käytön varmistaen järjestelmän eheyden, turvallisuuden ja tarkan virtauksen hallinnan. Se on kriittinen komponentti huollossa, turvaprotokollien ja valvotun pääsyn kannalta eri asennuksissa.


Tuotteen ominaisuus ja sovellus

Keskitehoinen lukittava luistiventtiili on suunniteltu luotettavaan on/off-ohjaukseen vesi- ja yleisissä nestejärjestelmissä. Siinä on vankka runko, pehmeä portin toiminta ja lukittava käsipyörä, joka estää luvattoman käytön ja varmistaa turvallisuuden. Hyvä tiivistyskyky ja alhainen virtausvastus täysin auki, sitä käytetään laajalti vesihuoltoverkoissa, LVI-järjestelmissä, teollisuusputkistoissa ja rakennuspalveluissa, joissa vaaditaan valvottua pääsyä ja luotettavaa eristystä.


Tuoteparametri

Tekniset tiedot

Nimellispaine: 1,6 MPa

Käyttöaineet: Vesi, öljy, syövyttämättömät ja syttymättömät kaasut

Käyttölämpötila: -10°C ≤ T ≤ 120°C

Lanka on ISO 228 -standardin mukainen


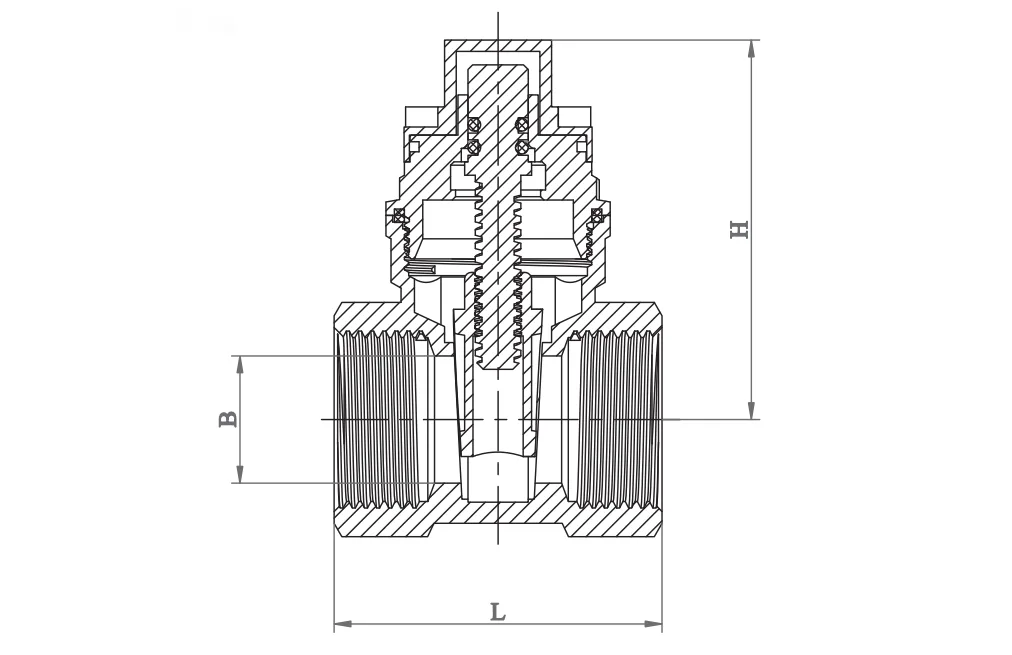
Tuotteen mitat

Medium-Duty Lockable Gate Valve

DN

L (mm)

B (mm)

H (mm)

WT (g)

1/2"

45

15

52

227.6

3/4"

49

19

57

287.6

1"

53

24

63

373.6

1/1/4"

57

29

79

639.6

1/1/2"

62

36

91

852.7

2"

69

45

107

1198.3


Asennusohjeet

1.Puhdista ja valmistele putkisto huolellisesti ennen venttiilin asentamista.

2. Ennen asennusta poista kaikki suojapäädyt ja tarkasta venttiiliportit ja istukkapinnat varmistaaksesi, että ne ovat puhtaat.

3. Tarjoa venttiilille riittävä tuki välttääksesi liitosputkien aiheuttaman jännityksen.

4.Varmista, että venttiilin paine- ja lämpötilaarvot sopivat tarkoitettuihin käyttöolosuhteisiin.

5. Ennen kuin otat venttiilin käyttöön, kierrä se kokonaan avoimesta kiinni varmistaaksesi moitteettoman toiminnan.

6. Tarkista asennuksen jälkeen, että tiivistemutteri on kunnolla kiristetty.

7. Keskitehoisille lukittaville luistiventtiileille on suositeltavaa asentaa kara pystysuorassa ja käyttökahva päällä.


Käyttöohjeet

Luistiventtiilit ovat käsikäyttöisiä. Käännä kahvaa vastapäivään avataksesi ja myötäpäivään sulkeaksesi.


Tarkastus ja huolto

1. Rutiinitarkastuksia ja ennaltaehkäisevää huoltoa ei yleensä vaadita, lukuun ottamatta karan tiivisteen satunnaista säätöä ja venttiilin säännöllistä kiertoa avoimesta kiinni.

2.Jos tiiviste vuotaa, kiristä tiivistemutteria myötäpäivään noin neljänneskierros – tai kunnes vuoto lakkaa – lisätäksesi varren tiivisteen tiivistyspainetta. Älä koskaan pakkaa venttiiliä uudelleen, kun se on järjestelmäpaineen alaisena.

3. Kun vaihdat venttiilin karaa, vaihda myös tiivistemateriaali.


Varaosat

Normaaleissa käyttöolosuhteissa varaosia tarvitaan harvoin. Suositeltavat varaosat kullekin venttiilityypille ovat: Kahva, kahvan mutteri, tiiviste, laippa, tiivistemutteri.

Kun tilaat osia, ilmoita venttiilin numero, koko, tarvittava osa ja arvioitu ikä.



Hot Tags: Kiinan keskitehoinen lukittavien luistiventtiilien toimittaja, tehdas
Lähetä kysely
Yhteystiedot
Jos sinulla on kysyttävää tarjouksesta tai yhteistyöstä, lähetä meille sähköpostia osoitteeseen zchen@gentantvalves.com tai käytä seuraavaa kyselylomaketta. Myyntiedustajamme ottaa sinuun yhteyttä 24 tunnin sisällä. Kiitos mielenkiinnostasi tuotteitamme kohtaan.
X
Käytämme evästeitä tarjotaksemme sinulle paremman selauskokemuksen, analysoidaksemme sivuston liikennettä ja mukauttaaksemme sisältöä. Käyttämällä tätä sivustoa hyväksyt evästeiden käytön. Tietosuojakäytäntö
Hylätä Hyväksyä